2月21日,据企查查APP显示,味千拉面饮食服务(深圳)有限公司新增一则欠税公告。
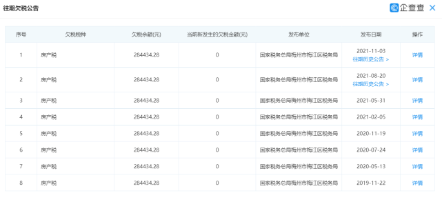
公告显示,味千拉面欠税金额已超28万元。欠税税种为房产税,发布单位为国家税务总局梅州市梅江区税务局。
值得注意的是,这笔欠税是从2019年拖欠至今,且被多次催缴。这不禁让人感到意外,味千拉面的经营状况得有多差,连这点税钱都交不起了?
作为一家专注骨汤拉面产品的企业,味千拉面于1968年创始于日本。
1996年,味千拉面被引入香港及内地,十年后在香港主板上市,成为首家在香港上市的、以内地为基地的快餐企业。创始人潘慰,连续4年成为胡润餐饮富豪榜首富,并获得“拉面女王”的称号。
2010年,味千(中国)提出了“五年千店”的目标。但是,受“骨汤门”事件影响,其扩张的脚步放缓。至2014年,味千(中国)也只有669家门店,并未完成目标。
2015年,潘慰重提千店计划。当年,公司门店规模达673家,5年内增加400家门店,似乎并不是什么难事。
但当年公司业绩尚未回暖,营业收入和归母净利润分别为26.22亿元和1.90亿元,分别同比增长0.09%和-12.55%,2016年、2017年继续下滑,营业收入分别下降9.25%和1.97%。尤其是2017年,公司上市以来第一次巨亏,原因是投资百度外卖失利,直到2018年才实现扭亏为盈。

2018年12月,味千拉面在迎来50周年生日庆之际,喊出了“大骨熬汤50年,全球门店800家”的口号。
然而2018年末,味千拉面前首席财务官刘家豪,又被爆出7年间以可擦式原子笔擅改180张公司支票,不当盗取公司约2600万港元,被判监6年8个月。一时间,味千陷入“贪腐门”,公司股价持续下跌至历史最低2.22港元,比最高峰市值跌去了100亿港元。
骨汤门、贪腐门之后,公司千店计划几近停滞。2010年,味千拉面拥有508家门店,2011年660多家、2014年669家、2018年766家、2019年799家、2020年722家、2021上半年707家。
这意味着味千2020年关店77家,2021年上半年又关闭了15家门店。味千拉面离“全球门店800家”的距离,似乎越行越远了。
可以说,曾经的味千拉面也是风光无限。但当浪潮退去,却无可避免地陷入业绩下滑、门店增数下降、口碑变差的命运。
2021年,面条突然成为一门好生意,市场上崛起了和府捞面、遇见小面、五爷拌面及陈香贵等新兴面条品牌,高瓴、碧桂园创投、绝味等纷纷入局。初步统计,短短一年间,就有10亿元以上资金进入这一领域。
而面条界的老人味千,只能眼睁睁看着后来者快速蚕食面条消费市场。
在和府捞面店里可以看书;遇见小面对重庆小面大力改造……味千这碗卖了20多年的拉面里,除了骨汤还有什么?
在逼仄的瓶颈期里,它没有像九毛九孵化出网红品牌太二酸菜鱼,也没有走出广西螺蛳粉、湖南霸蛮米粉的新路子。
过去味千拉面的拥趸快速离去,翻台率可以说明一切。
2010年,味千在香港和中国内地的翻台率分别为6和5.1,去年上半年,变成了3.87和3.2。
味千拉面逐渐失势,与决策层的老化不无关系。
自公司1995年创立以来,潘慰手握大权,既是公司实控人又身兼董事会主席、执行董事和行政总裁数职,如今已有66岁。
她的胞弟潘嘉闻2007年起任执行董事,负责市场推广,已有65岁;重光克昭2007年任职公司执行董事,如今也在53岁左右。独立非执行董事路嘉星、任锡文、王金城3人年龄均在60岁以上,且路、王二人已在这个位置上干了10年以上。
截至今日收盘,味千拉面报1.27港元/股,总市值13.86亿港元,和2011年最高点11.76港元/股相比,已跌去了近90%。
本文系食品观察家综合自斑马消费等媒体报道